Toyota donosi simulirani manuelni menjač u svoja električna vozila. Ideja je zabavna, a istovremeno je to i način japanskog proizvođača da privuče i zadrži još vozača na svojim električnim vozilima.
Ovaj menjač verovatno neće biti ograničen na šest ili sedam brzina, jer u nedavnoj prijavi patenta stoji da, tehnički, ne postoji ograničenje koliko “zupčanika” takav uređaj može imati. Slike objavljene uz tehnički dokument pokazuju čak 14 brzina, ali kako to zapravo funkcioniše?
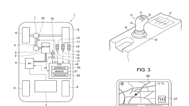
Patent detaljno objašnjava sistem – ukratko, vozač će moći da odabere tačno koliko brzina želi.

“Broj stepena prenosa kod virtuelne opreme može biti šest, manje ili više od toga. Na vozaču je da odabete šablon u skladu sa svojim preferencijama”, navodi se u ovom dokumentu.
Toyota, međutim, na opisuje neki elektromehanički sistem za efikasno kreiranje onoliko fizičkih brzina koliko kupac želi, već bi broj fizičkih “jamica” bio fiksiran.
Brzina se bira baš kao i kod običnog manuelnog menjača, ali se ručica može vratiti u neutralni položaj nakon upotrebe. Ako postoji šablon od šest brzina i izabrana je šesta, na ekranu će se pojaviti one koje su dalje dostupne (od sedme pa nadalje).

Ako ovo zvuči zbunjujuće, to vam je ujedno i razlog zašto proizvođači automobila nikada nisu koristili više od sedam brzina u običnim putničkim automobilima.
Menjač sa 14 brzina nije praktičan kada je povezan sa motorom sa unutrašnjim sagorevanjem, ali ako je u pitanju samo simulacija, Toyota izgleda misli da ne može da šteti ako njeni kupci mogu da se poigraju izborom.